挑战技术新路径,保时捷新变速箱专利:复杂的4挡变速箱
ams车评 | 01-26
22774
在全面电动化的浪潮中,保时捷选择了一条更复杂、也更“保时捷”的技术路径。一项最新曝光的变速箱专利显示,这家跑车制造商正在重新定义高性能插电式混合动力:双电机、双动力路径、4挡变速箱以及高度智能化的离合控制逻辑。它不仅可能让插混车型在纯电模式下突破200公里/小时,还或将动摇现役8挡PDK的地位。
与激进转向纯电驱动不同,保时捷目前再次将关注重点放回到内燃机及其持续演进上。其中,高性能混合动力系统成为研发的核心组成部分。要理解保时捷在新技术上的基本思路,最新向德国专利与商标局(DPMA)提交的一项专利申请,提供了清晰的线索。

该技术描述了一种全新的混合动力架构:配备两台电机、两条独立的动力路径以及一套结构相对简单的4挡变速箱。其目标不仅是提升插电式混合动力车型的效率,更是在纯电模式下显著提高最高车速。
目前,在德国高速公路上,纯电行驶通常在135公里/小时左右受限。借助这项新技术,接近200公里/小时的纯电速度将成为可能。
没有传统混动逻辑
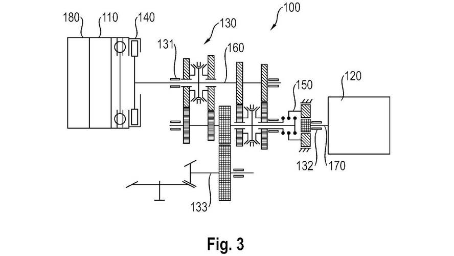
专利中描述的动力系统在表面上仍遵循已知原理:一台内燃机(180)与第一台电机(110)组合,二者安装在同一根传动轴上。该组合单元连接至变速箱(130)的第一输入轴(131),形成所谓的第一机械动力路径(160)。

第一台电机承担传统混合动力系统中的典型功能,例如:发动机启动、发电机运行、负载点调节。真正偏离传统混合动力理念的,是第二台电机(120)。它并不位于同一根传动轴上,而是通过一个独立的第二变速箱输入轴(132)接入系统。由此形成了第二条机械动力路径(170),该路径可以在完全不依赖内燃机的情况下运行。哪一条动力路径处于工作状态,则由第一离合器(140)和第二离合器(150)来控制。
该发明的核心,是一台4挡自动变速箱。它并非单纯作为齿比转换机构存在,而是整个混合动力系统的“调度中枢”。与传统并联混合动力不同,这一系统不会持续叠加各驱动单元的扭矩。相反,系统会在运行过程中明确界定:当前使用的是第一动力路径,还是第二动力路径。
通过第一动力路径(160),输出内燃机与第一电机的扭矩或者通过第二动力路径(170),仅输出第二台电机的扭矩。两条动力路径不会同时向车轮输出动力,这一设计降低了机械复杂度,并实现了清晰、可控的运行工况划分。

在上图所示的配置中,车辆处于纯电行驶状态(深色线条表示动力流向)。第二台电机(120)通过第二机械动力路径(170),并经由4挡变速箱驱动车辆前进。内燃机(180)与第一台电机(110)则被完全解耦。
与现有插电式混合动力车型最大的不同在于:这台电机不再受限于单一固定齿比。借助4挡变速箱,即便在超高车速下,电机转速仍能维持在高效区间。专利文件中明确提到,纯电行驶速度可达到约193 公里/小时——这是当前任何一款保时捷PHEV车型都无法实现的数值。尤其在德国这样的市场,高速公路上的持续高速行驶是现实需求,该技术正面解决了插电式混合动力车型长期存在的实用性痛点。

需要性能时,电力也能全力输出。如上图所示,第二台电机(120)也可以通过第二离合器(150),接入第一机械动力路径(160)。在这种配置下,其动力同样能够通过4挡变速箱进行放大传递。同时,第一离合器(140)可以保持闭合状态,使内燃机、第一电机与第二电机协同工作。
第二台电机的动力被引导至上方传动轴。这种架构为保时捷提供了布置不同特性电机的可能性:一台侧重低速、高扭矩输出的电机;另一台针对高转速、高功率优化,仅在高挡位介入。由此可实现按需释放性能,而无需在日常运行中承受持续的效率损失。

另一个关键运行模式,是所谓的“串联超速”。在该模式下,第一离合器(140)断开,内燃机与变速箱之间不存在任何机械连接。内燃机仅驱动第一台电机(110)发电,所产生的电能再供给第二台电机(120),由其负责车辆驱动。这种串联运行方式的最大优势,在于完全解耦发动机转速与车速,内燃机可以长期运行在最佳效率区间,尤其适合高速公路上的恒速巡航工况。与此同时,变速箱仍然保持工作状态,可随时无缝切换回并联驱动模式。
该技术的一项重大优势,是有意摆脱当前广泛应用的8挡双离合变速箱(PDK)。之所以需要8个挡位,根本原因在于:内燃机只有在相对狭窄的转速与效率窗口内才能高效工作。而电机则不同:在极宽的转速范围内即可输出最大扭矩,且调节过程几乎无损耗。通过两台电机的合理分工,电驱部分承担了大部分扭矩覆盖需求,变速箱所需的挡位数量便可显著减少,同时仍兼顾起步加速与高速巡航。

同时,放弃8挡变速箱还带来了明确的结构优势:更少的齿轮、更少的离合器、更少的换挡执行机构。这不仅降低了重量与体积,也减少了内部摩擦损失。对于强调性能的车型而言,这直接提升了效率与响应速度。而由于热负荷与机械应力降低,整个系统的可靠性也随之提高。
不过,保时捷在此并非仅将电机用于降低排放,而是主动利用电驱优势,简化机械结构——这与品牌一贯追求的技术效率与驾驶纯粹性高度契合。当然,正如所有专利一样:是否以及何时量产,仍有待观察。