车红是非多,iCAR再遭水军集中攻击?
车界 | 03-18
22028
不知从何时起,在汽车圈里“水军”逐渐成为了需要“公开悬赏”打击的对象,而各大车企更是频频为自身的品牌或产品遭遇了“水军”攻击而发声。

日前,iCAR汽车官方发布公告称,旗下新车iCAR V27上市前后,遭到了大量水军攻击,并表示:这些蓄意攻击主要出现在跟V27相关官方发布、媒体报道和用户发布内容的评论区,车型论坛恶意负面帖,和大量自媒体账号集中发布的负面抹黑内容。攻击手段包括恶劣的脏话谩骂,歪曲事实的负面引导,断章取义的竞品对比拉踩,以及针对搜索引擎和AI问答内容的“投毒”。这些攻击有明显的策略性和一致性,行动有组织,话术高度统一,显著区别于普通用户和网友的发布。

而对此,iCAR品牌没有选择沉默,除了公开发声并且迅速启动法律程序外,还同时推出10万元至100万元的悬赏,面向社会征集水军攻击的相关线索,用强硬态度回应恶意抹黑。
笔者认为,iCAR此举并无不妥,毕竟V27是iCAR今年推出的重磅产品,被各方都寄予厚望,而在产品相对给力的情况下,受到一些水军攻击也是有可能的。事实上,在此前V23上市时,iCAR也曾发布公告,表示iCAR V23受到了水军攻击。

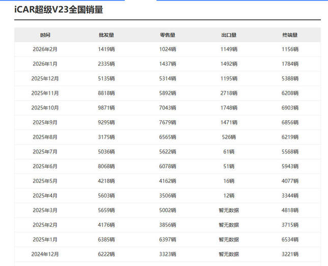
不过,从销量来看,iCAR V23上市后整体销量中规中矩,2025年国内月零售量基本维持在5000-7000辆之间,只是进入2026年后销量骤降至1000余台,这或许和行业整体处于淡季,同时新车面临的市场竞争压力加剧有关。

当然,从企业的角度来看,面对水军攻击尤其是有组织的抹黑,进行公开发声并悬赏,或许并不能从根本上解决问题,但却可以起到震慑作用,甚至因为公开发声而引发二次关注,带动产品的流量提升。
但从另一方面来看,求木之长者,必固其根本;欲流之远者,必浚其泉源。
一款车能否持续热销,归根结底还是要看产品,正所谓身正不怕影子斜,毕竟如今的消费者愈发成熟,接受的信息也更为全面,其选择产品时也就更为理性,车企的产品想要大卖,就应当正确区分“水军攻击”与“正常评论”。如果将网友的合理质疑也归为恶意抹黑,反而会适得其反。

毕竟,卖好车的核心从来不是堵嘴,而是正视问题、倾听真实声音。无视用户合理诉求,一味将批评归为水军,只会失去消费者信任,最终被市场淘汰。iCAR此次维权的关键,应是精准打击有组织的黑公关,而非否定所有负面声音,这也是所有车企在应对舆论时需守住的底线,好在我们在相关公告中也看到了这样的描述。

值得注意的是,近年来随着新能源汽车市场竞争日趋激烈,“内卷”早已从产品、价格延伸到舆论战场。部分企业不愿投入精力打磨产品、提升服务,反而将心思放在恶意抹黑竞争对手上,寄希望于通过水军造势,扰乱市场判断,抢夺市场份额。这种行为,不仅损害了被攻击企业的品牌形象,误导了消费者的购车选择,更破坏了行业公平竞争的环境,透支了整个汽车行业的公信力,确实应当进行惩治。
写在最后:
毋庸置疑,在奉行长期主义的汽车市场,产品的成功与否,靠的从来不是攻击对手,或者是被对手攻击,而是产品实力、技术创新是否真的做到位了,甚至是能否听得进消费者的意见,并加以持续改进,如此才能成就经典。iCAR V27遭水军围堵事件,也警示所有车企:捷径走不远,歪路行不通。唯有坚守底线,专注产品与服务,才能在市场中站稳脚跟。对于iCAR V27未来的销量表现,我们也将保持关注。
(本文由【车界】新媒体编辑部原创出品,本文所涉及销量数据来源于乘联会或第三方平台发布的行业综合销量数据,部分图片来源于网络,标注来源的数据及相关资料均为引用,具体请以官方信息为准,如有错误请联系删除。本文作者蓝湛,个人观点仅供参考。)